
(000718)8月29日披露2024年半年报。2024年上半年,公司实现营业总收入13.09亿元,同比增长26.72%;归母净利润2.52亿元,同比下降16.73%;扣非净利润2.51亿元,同比下降17.69%;经营活动产生的现金流量净额为-2749.12万元,上年同期为4.08亿元;报告期内,基本每股收益为0.083元,加权平均净资产收益率为2.65%。公司2024年半年度利润分配预案为:拟向全体股东每10股派0.6元(含税)。
公告称,公司营业收入变化主要由于本期项目交付量较上年同期增加。

以8月28日收盘价计算,目前市盈率(TTM)约为37.16倍,市净率(LF)约为0.51倍,市销率(TTM)约为2.04倍。

公司近年市盈率(TTM)、市净率(LF)、市销率(TTM)历史分位图如下所示:



根据半年报,公司第二季度实现营业总收入8.54亿元,同比增长42.52%,环比增长87.80%;归母净利润1.61亿元,同比下降8.33%,环比增长77.49%;扣非净利润1.61亿元,同比下降11.47%,环比增长77.49%。

半年报称,公司主营业务为与销售,深耕长三角区域,始终致力于开发优质的地产项目,在全国多地均有布局。
2024年上半年,公司毛利率为60.41%,同比下降2.52个百分点;净利率为19.11%,较上年同期下降10.03个百分点。从单季度指标来看,2024年第二季度公司毛利率为61.21%,同比上升0.14个百分点,环比上升2.32个百分点;净利率为18.77%,较上年同期下降10.38个百分点,较上一季度下降0.98个百分点。

数据显示,2024年上半年公司加权平均净资产收益率为2.65%,较上年同期下降0.48个百分点;公司2024年上半年投入资本回报率为2.38%,较上年同期下降0.21个百分点。

2024年上半年,公司经营活动现金流净额为-2749.12万元,同比减少4.35亿元;筹资活动现金流净额-4867.15万元,同比减少246.82万元;投资活动现金流净额1.18亿元,上年同期为-3.25亿元。
进一步统计发现,2024年上半年公司自由现金流为1.62亿元,相比上年同期下降35.79%。

2024年上半年,公司营业收入现金比为63.95%,净现比为-10.91%。

营运能力方面,2024年上半年,公司总资产周转率为0.09次,上年同期为0.07次(2023年上半年行业平均值为0.07次,公司位居同行业47/79);固定资产周转率为1.25次,上年同期为1.03次(2023年上半年行业平均值为8.45次,公司位居同行业66/79);公司应收账款周转率、存货周转率分别为21.73次、0.06次。

2024年上半年,公司期间费用为2.16亿元,较上年同期增加878.89万元;但期间费用率为16.49%,较上年同期下降3.56个百分点。其中,销售费用同比下降10.32%,管理费用同比下降2.93%,财务费用同比增长130.96%。
资料显示,财务费用的变动主要因为部分地产项目完成交付,费用化的利息支出增加。

资产重大变化方面,截至2024年上半年末,公司存货较上年末增加1.12%,占公司总资产比重上升1.33个百分点;预付款项较上年末减少50.46%,占公司总资产比重下降1.19个百分点;货币资金较上年末增加21.30%,占公司总资产比重上升0.80个百分点;其他应收款(含利息和股利)较上年末减少8.43%,占公司总资产比重下降0.45个百分点。

负债重大变化方面,截至2024年上半年末,公司合同负债较上年末减少49.22%,占公司总资产比重下降3.36个百分点,主要系本期预售项目结算量增加,合同负债结转营业收入;一年内到期的非流动负债较上年末增加96.00%,占公司总资产比重上升1.22个百分点;长期借款较上年末减少17.40%,占公司总资产比重下降1.11个百分点;应付账款较上年末增加10.07%,占公司总资产比重上升1.06个百分点。

从存货变动来看,截至2024年上半年末,公司存货账面价值为86.06亿元,占净资产的89.83%,较上年末增加9531.01万元。其中,存货跌价准备为8235.13万元,计提比例为0.95%。

在偿债能力方面,公司2024年上半年末资产负债率为33.23%,相比上年末下降2.06个百分点;有息资产负债率为11.41%,相比上年末上升0.42个百分点。

2024年上半年,公司流动比率为2.69,速动比率为0.55。

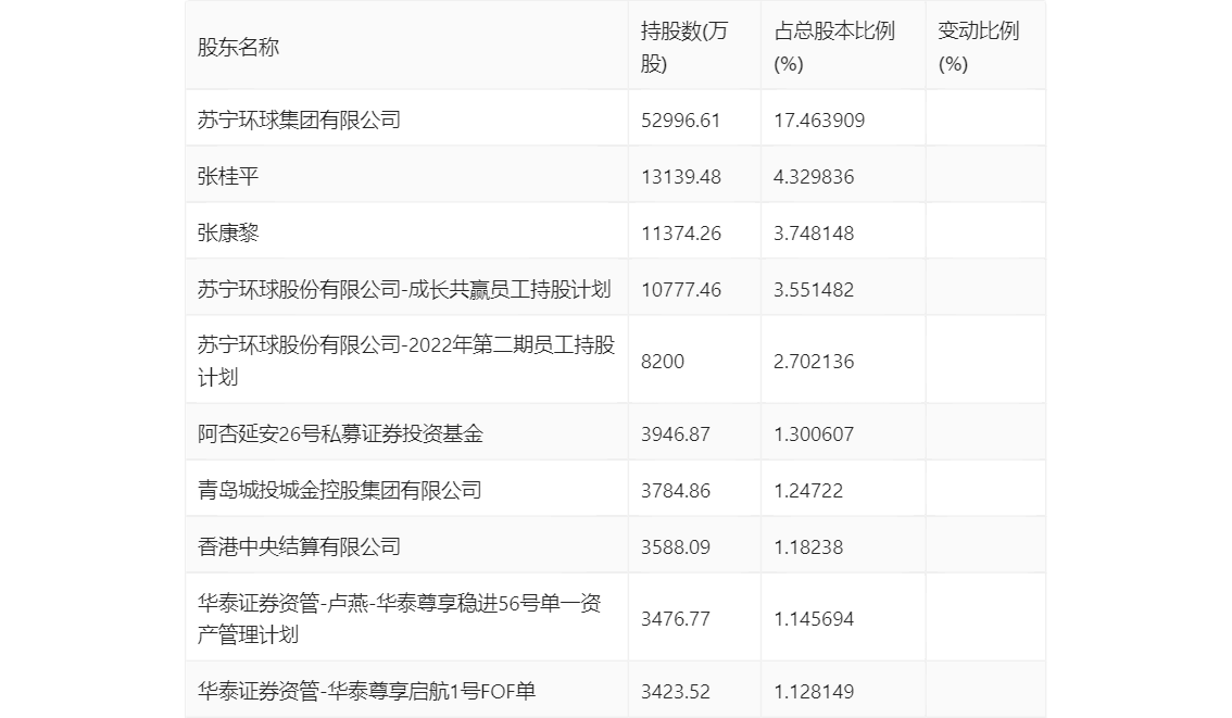
半年报显示,2024年上半年末公司十大流通股东中,新进股东为香港中央结算有限公司、资管-华泰尊享启航1号FOF单,取代了一季度末的资管-华泰尊享启航1号FOF单一资产管理计划-华泰尊享稳进70号单一资产管理计划、银湖青阳私募投资基金。在具体持股比例上,张康黎持股有所上升,资管-卢燕-华泰尊享稳进56号单一资产管理计划持股有所下降。

值得注意的是,根据半年报数据,苏宁环球19.11%股份处于质押状态。其中,第一大股东苏宁环球集团有限公司质押2.91亿股公司股份,占其全部持股的55.00%。
筹码集中度方面,截至2024年上半年末,公司股东总户数为7.86万户,较一季度末下降了1806户,降幅2.25%;户均持股市值由一季度末的7.82万元下降至6.49万元,降幅为17.01%。

指标注解:
市盈率
=总市值/净利润。当公司亏损时市盈率为负,此时用市盈率估值没有实际意义,往往用市净率或市销率做参考。
市净率
=总市值/净资产。市净率估值法多用于盈利波动较大而净资产相对稳定的公司。
市销率
=总市值/营业收入。市销率估值法通常用于亏损或微利的成长型公司。
文中市盈率和市销率采用TTM方式,即以截至最近一期财报(含预报)12个月的数据计算。市净率采用LF方式,即以最近一期财报数据计算。
市盈率为负时,不显示当期分位数,会导致折线图中断。